常壓熱水鍋爐熱水流量計的硬件與程序設計
點擊次數:2544 發布時間:2021-09-01 09:46:20
摘要:常壓熱水鍋爐熱水流量計廣泛應用于流量測量領域,本文針對常壓熱水鍋爐熱水流量計的特點設計了一種基于DSP智能常壓熱水鍋爐熱水流量計,它能夠實時采集脈沖信號,并顯示在液晶顯示屏上,同時還能通過RS485通信將數據遠傳至上位機。智能常壓熱水鍋爐熱水流量計內置儀表系數修正算法,能夠消除流變化導致儀表系數變化而產生的誤差。
常壓熱水鍋爐熱水流量計廣泛用于流量測量領域,具有安裝簡便、精度較高、能夠直接進行脈沖輸出等特點,目前廣泛應用于工業及民用的流量計量等裝置中。由于常壓熱水鍋爐熱水流量計能夠直接輸出脈沖,且常壓熱水鍋爐熱水流量計的儀表系數會隨流速的變化而變化,易于使智能儀表對其脈沖流量信號進行現場處理,如果智能儀表不能實時對儀表系數進行修正,則需要對常壓熱水鍋爐熱水流量計進行標定,否則將產生較大測量誤差。
1常壓熱水鍋爐熱水流量計功能概況
常壓熱水鍋爐熱水流量計屬于速度式流量測量計,其工作原理是在流體管道內安裝渦輪,利用流體流動時產生的推力使渦輪葉片轉動,渦輪的轉速和流體的流速將成正比例關系,同時,安裝在計量儀表殼體的電磁感應接收器實時接收由葉輪轉動引起的磁場變化而產生的脈沖,智能儀表收集到脈沖之后進行濾波放大,即可通過簡單的比例關系計算出管道的實時流量。常壓熱水鍋爐熱水流量計其內部機械機構見圖1。
智能儀表以DSP為處理器,它采集到渦輪流量傳感器傳送的脈沖信號后通過濾波放大后在處理器內進行運算,并將運算結果顯示在液晶屏上,同時還能夠通過RS485通信向上位機遠傳流量信息。圖2為渦輪流量智能儀表的內部功能模塊結構圖。


2智能常壓熱水鍋爐熱水流量計的硬件設計
2.1渦輪脈沖輸入調理電路
由于渦輪流量傳感器產生的電脈沖信號有一定的噪聲信號,并且電壓只有幾十毫伏,所以在將信號輸入到DSP處理器之前進行濾波、整形和放大。*82頁圖3為渦輪脈沖輸入調理電路。
2.2液晶顯示
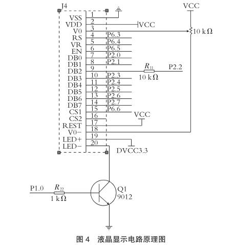
液晶選擇12864點陣式液晶,它能夠動態顯示各種圖形、漢字以及各種符號信息,為各種電子產品提供了友好的人機界面,點陣式圖形液晶顯示屏具有工作電壓低、功耗低、可視面積大、體積小、無電磁干擾、數字接口、使用壽命長等特點。圖4為液晶顯示電路原理圖。


2.3RS485通信
RS485接口組成半雙工網絡,選擇兩線制與上位機電腦相連,采用屏蔽雙絞線傳輸。通信系統整體為總線式結構,這樣1臺上位機*多可以和現場32臺智能儀表相連。采用MAX485芯片完成電壓轉換,圖5為RS485通信電路原理圖。

2.4DSP微處理器
TMS320F28335具有150MHz高速處理能力,具備32位浮點處理單元,6個直接內存存取通道,支持EMIF,McBSP和ADC,配備總計18路PWM波輸出端口,其中有6路為專用超高精度的PWM輸出,12位16通道模擬數字轉換單元。由于TMS320F28335具備浮點運算單元,用戶可快速編寫控制算法而無需在處理小數操作上耗費過多時間和精力,與其他DSP相比,整體性能提高了一倍,并與定點C28x控制器軟件兼容,從而簡化了軟件開發,縮短了開發周期,降低了開發成本。
3智能常壓熱水鍋爐熱水流量計的程序設計
3.1微處理器功能程序設計
上電后程序對DSP的硬件資源進行初始化,包括中斷系統、GPIO口、定時器/計數器、通信端口及基本的時鐘設置。程序每秒對接收到的脈沖進行計數,其除以儀表系數后的結果作為瞬時流量,同時在時間上對瞬時流量進行累積,計算出兩種流量后,將其實時顯示在液晶顯示屏上,同時將數據保存,**等待上位機電腦對數據的讀取。通信采用MODBUS協議,波特率為9600b/s,無校驗,8位數據位,1位停止位。圖6為微處理器功能設計流程圖。

3.2流速修正算法
常壓熱水鍋爐熱水流量計中流速對儀表系數有著很大的影響,這部分誤差會*大影響*終計量的精確度,傳統的做法是當流速發生較大的持續變化時,需對常壓熱水鍋爐熱水流量計進行重新標定。針對這個問題,在不同流速下,測量了常壓熱水鍋爐熱水流量計的儀表系數(見表1)。

繼續增大流量,儀表系數基本保持不變,故對0.4~1L/s內的數據進行參數擬合,得到擬合函數
Y=5+52.16X+16.9X2-116.22X3+83.34X4.(1)
其中自變量為流量,因變量為儀表系數。當流量介于0.4~1L/s時,采用式(1)進行計算;當流量超過1.1L/s時,保持儀表系數恒為69.9。
4結論
筆者設計一種基于DSP的智能常壓熱水鍋爐熱水流量計,它能夠將渦輪流量傳感器的脈沖信號經過調理電路輸入到微處理器中,并在現場實時顯示經過系統修正的瞬時流量和累積流量,同時還可以將數據遠傳至上位機。此智能常壓熱水鍋爐熱水流量計功能強大,測量精度高,有廣闊的應用前景。
熱水流量計的安裝要求與注意事項
熱水流量計的工作原理介紹
熱水流量計在供水行業中的安裝配置及使用狀況分析
磁場及介質電導率對熱水流量計測量的影響分析
熱水流量計清洗管道的連接及傳感器在地下管道中的安裝
管道熱水流量計的原理特點與在聚乙烯醇測量中的應用
對于供暖管道熱水流量計等自動化儀表的設計與應用
使用供暖熱水流量計計量鋼廠工業水的應用分析
對于供水計量鍋爐熱水流量計的安裝與管理問題研究
污水處理監管升級新型熱水流量計市場需求引爆
供熱水流量計流量測量應用成熟,適用于新技術創新
淺析空調冷水熱水流量計制造技術應用發展及頸瓶
集熱水流量計輸出信號出現波動的三個*常見原因
衛生熱水流量計漂移產生的原因及有效去除方法
在熱水處理中暖氣熱水流量計的特點比較及選型
影響分體式熱水流量計測量精度因素及提高準確性的對策
酒店熱水專用流量計的特點與安裝要求
供暖熱水流量計廠家為您詳述產品優點及不足之處
生產廠家對于暖氣熱水流量計安裝要求的技術指導說明
探究影響熱水流量計電磁損耗的具體原因
鍋爐熱水流量計在西鋼煉鋼工程中的應用實例說明
熱力站熱水流量計在強腐蝕環境下的問題及解決方案
空調熱水流量計在調試期與運行期故障有哪些典型的故障
五點要求說明空調冷熱水流量計的傳感器該正確安裝方法
冷熱水流量計的外部電磁干擾及如何進行的電磁兼容性分析
供暖熱水流量計在水油混合物誤差分析
常壓熱水鍋爐熱水流量計的硬件與程序設計
采暖熱水流量計為復雜的慢流量測量提供了解決方案
攪拌器葉片對冷熱水流量計流量測量精度的影響
供熱熱水流量計生產廠家為您分析流量計產生誤差的原因
常壓熱水鍋爐熱水流量計廣泛用于流量測量領域,具有安裝簡便、精度較高、能夠直接進行脈沖輸出等特點,目前廣泛應用于工業及民用的流量計量等裝置中。由于常壓熱水鍋爐熱水流量計能夠直接輸出脈沖,且常壓熱水鍋爐熱水流量計的儀表系數會隨流速的變化而變化,易于使智能儀表對其脈沖流量信號進行現場處理,如果智能儀表不能實時對儀表系數進行修正,則需要對常壓熱水鍋爐熱水流量計進行標定,否則將產生較大測量誤差。
1常壓熱水鍋爐熱水流量計功能概況
常壓熱水鍋爐熱水流量計屬于速度式流量測量計,其工作原理是在流體管道內安裝渦輪,利用流體流動時產生的推力使渦輪葉片轉動,渦輪的轉速和流體的流速將成正比例關系,同時,安裝在計量儀表殼體的電磁感應接收器實時接收由葉輪轉動引起的磁場變化而產生的脈沖,智能儀表收集到脈沖之后進行濾波放大,即可通過簡單的比例關系計算出管道的實時流量。常壓熱水鍋爐熱水流量計其內部機械機構見圖1。
智能儀表以DSP為處理器,它采集到渦輪流量傳感器傳送的脈沖信號后通過濾波放大后在處理器內進行運算,并將運算結果顯示在液晶屏上,同時還能夠通過RS485通信向上位機遠傳流量信息。圖2為渦輪流量智能儀表的內部功能模塊結構圖。


2智能常壓熱水鍋爐熱水流量計的硬件設計
2.1渦輪脈沖輸入調理電路
由于渦輪流量傳感器產生的電脈沖信號有一定的噪聲信號,并且電壓只有幾十毫伏,所以在將信號輸入到DSP處理器之前進行濾波、整形和放大。*82頁圖3為渦輪脈沖輸入調理電路。
2.2液晶顯示
液晶選擇12864點陣式液晶,它能夠動態顯示各種圖形、漢字以及各種符號信息,為各種電子產品提供了友好的人機界面,點陣式圖形液晶顯示屏具有工作電壓低、功耗低、可視面積大、體積小、無電磁干擾、數字接口、使用壽命長等特點。圖4為液晶顯示電路原理圖。


2.3RS485通信
RS485接口組成半雙工網絡,選擇兩線制與上位機電腦相連,采用屏蔽雙絞線傳輸。通信系統整體為總線式結構,這樣1臺上位機*多可以和現場32臺智能儀表相連。采用MAX485芯片完成電壓轉換,圖5為RS485通信電路原理圖。

2.4DSP微處理器
TMS320F28335具有150MHz高速處理能力,具備32位浮點處理單元,6個直接內存存取通道,支持EMIF,McBSP和ADC,配備總計18路PWM波輸出端口,其中有6路為專用超高精度的PWM輸出,12位16通道模擬數字轉換單元。由于TMS320F28335具備浮點運算單元,用戶可快速編寫控制算法而無需在處理小數操作上耗費過多時間和精力,與其他DSP相比,整體性能提高了一倍,并與定點C28x控制器軟件兼容,從而簡化了軟件開發,縮短了開發周期,降低了開發成本。
3智能常壓熱水鍋爐熱水流量計的程序設計
3.1微處理器功能程序設計
上電后程序對DSP的硬件資源進行初始化,包括中斷系統、GPIO口、定時器/計數器、通信端口及基本的時鐘設置。程序每秒對接收到的脈沖進行計數,其除以儀表系數后的結果作為瞬時流量,同時在時間上對瞬時流量進行累積,計算出兩種流量后,將其實時顯示在液晶顯示屏上,同時將數據保存,**等待上位機電腦對數據的讀取。通信采用MODBUS協議,波特率為9600b/s,無校驗,8位數據位,1位停止位。圖6為微處理器功能設計流程圖。

3.2流速修正算法
常壓熱水鍋爐熱水流量計中流速對儀表系數有著很大的影響,這部分誤差會*大影響*終計量的精確度,傳統的做法是當流速發生較大的持續變化時,需對常壓熱水鍋爐熱水流量計進行重新標定。針對這個問題,在不同流速下,測量了常壓熱水鍋爐熱水流量計的儀表系數(見表1)。

繼續增大流量,儀表系數基本保持不變,故對0.4~1L/s內的數據進行參數擬合,得到擬合函數
Y=5+52.16X+16.9X2-116.22X3+83.34X4.(1)
其中自變量為流量,因變量為儀表系數。當流量介于0.4~1L/s時,采用式(1)進行計算;當流量超過1.1L/s時,保持儀表系數恒為69.9。
4結論
筆者設計一種基于DSP的智能常壓熱水鍋爐熱水流量計,它能夠將渦輪流量傳感器的脈沖信號經過調理電路輸入到微處理器中,并在現場實時顯示經過系統修正的瞬時流量和累積流量,同時還可以將數據遠傳至上位機。此智能常壓熱水鍋爐熱水流量計功能強大,測量精度高,有廣闊的應用前景。


